European Case Law Identifier: ECLI:AT:OLG0009:2022:03300R00061.22S.1021.000
Spruch:
Dem Rekurs wird nicht Folge gegeben.
Die gefährdete Partei ist schuldig, der Gegnerin der gefährdeten Partei die mit EUR 3.262,50 (darin EUR 520,90 USt) bestimmten Kosten des Rekursverfahrens binnen 14 Tagen zu ersetzen.
Der Wert des Entscheidungsgegenstands übersteigt EUR 30.000.
Der ordentliche Revisionsrekurs ist nicht zulässig.
Begründung
Die Klägerin und gefährdete Partei (im Folgenden: Klägerin) ist die Inhaberin des österreichischen Teils des Klagspatents EP 2 410 894 mit dem Titel „Pump mount in a beverage preparation machine“ („Pumpenhalterung in einer Getränkezubereitungsmaschine“). Das Klagspatent wurde am 7.1.2010 angemeldet. Es nimmt die Priorität PCT/EP2009/053368 vom 23.3.2009 in Anspruch. Der Hinweis auf die Patenterteilung wurde am 16.4.2014 im Europäischen Patentblatt veröffentlicht. Mit Entscheidung der Beschwerdekammer des Europäischen Patentamts vom 15.1.2021 wurde die Entscheidung der Einspruchsabteilung vom 16.1.2018, das Patent in geänderter Fassung aufrecht zu erhalten, bestätigt. Das Klagspatent steht in Österreich unter der Nummer E 661995 in Kraft.
Der Anspruch 1 des Klagspatents in der eingeschränkten Fassung lautet (im englischen Original ./F):
«A beverage preparation machine comprising:
a housing (1000); a pump (800) which vibrates during use and which is mounted in the housing; and a dampener for preventing or reducing the transmission of vibrations from the pump to other machine parts, the dampener comprising a spring (850) on which the pump is mounted in the housing, characterised in that the dampening spring (850) is a helicoidal dampening spring and in that the beverage preparation machine comprises a brewing unit for receiving a pre-portioned ingredient of a beverage supplied within a capsule or pod and for guiding an incoming flow of liquid through said ingredient to a beverage outlet.»
Dieser Anspruch 1 lautet gemäß der am 24.6.2021 beim Österreichischen Patentamt eingereichten Übersetzung der Patentschrift (./M):
«Getränkezubereitungsmaschine mit: einem Gehäuse (1000); einer Pumpe (800), die während des Gebrauchs in Schwingung versetzt ist und die in dem Gehäuse angebracht ist; sowie einem Dämpfer, der die Übertragung von Schwingungen von der Pumpe auf andere Maschinenteile verhindert oder reduziert, wobei der Dämpfer eine Feder (850) aufweist, auf welcher die Pumpe in dem Gehäuse angebracht ist, dadurch gekennzeichnet, dass die Dämpfungsfeder (850) eine Schraubendämpfungsfeder ist und dadurch, dass die Getränkezubereitungsmaschine eine Brüheinheit zum Aufnehmen einer vorportionierten Zutat eines Getränks, die in einer Kapsel oder einem Pad zugeführt wird, und zum Leiten eines einfließenden Flüssigkeitsstroms durch die Zutat hindurch zu einem Getränkeauslass umfasst.»
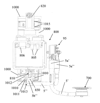
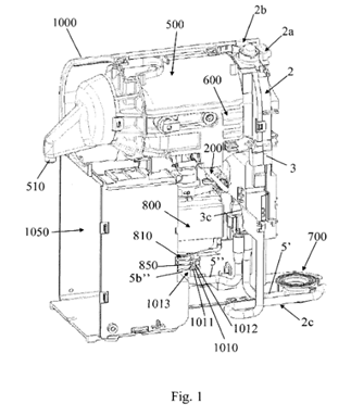
Das Klagspatent enthält die folgenden Darstellungen:
Die Beklagte und Gegnerin der gefährdeten Partei (im Folgenden: Beklagte) bietet über ihren Webshop unter der Domain www.k‑fee.com die Kaffeemaschinen K‑fee TWINS II, K‑fee TWINS II & LATTE, K‑fee GRANDE und K‑fee LATTENSIA+ in Österreich an und bringt sie in Österreich in Verkehr.
Diese Kaffeemaschinen weisen ein Gehäuse mit einer im oder am Gehäuse angebrachten Pumpe auf, die im Betrieb vibriert. Weiters umfassen auch alle diese Kaffeemaschinen jeweils eine Brüheinheit, die dazu ausgestaltet ist, eine Kapsel mit vorportioniertem Kaffee aufzunehmen. Während bei den Maschinen K‑fee Grande und K‑fee LATTENSIA+ die Pumpe auf einer Schraubdämpfungsfeder sitzt, ist die Pumpe bei den Produkten „TWINS II“ und „TWINS II Latte“ nicht auf einer Schraubendämpfungsfeder angebracht, sondern wird zwischen zwei miteinander interagierenden Federn gehalten.
Die Klägerin begehrte zur Sicherung ihres Anspruchs auf Unterlassung des Eingriffs der Beklagten in das Klagspatent, es der Beklagten zu verbieten, eine Getränkezubereitungsmaschine mit einem Gehäuse; einer Pumpe, die während des Gebrauchs in Schwingung versetzt ist und die in dem Gehäuse angebracht ist; sowie einem Dämpfer, der die Übertragung von Schwingungen von der Pumpe auf andere Maschinenteile verhindert oder reduziert, wobei der Dämpfer eine Feder aufweist, auf welcher die Pumpe in dem Gehäuse angebracht ist, dadurch gekennzeichnet, dass die Dämpfungsfeder eine Schraubendämpfungsfeder ist und dadurch dass die Getränkezubereitungsmaschine eine Brüheinheit zum Aufnehmen einer vorportionierten Zutat eines Getränks, die in einer Kapsel oder einem Pad zugeführt wird, und zum Leiten eines einfließenden Flüssigkeitsstroms durch die Zutat hindurch zu einem Getränkeauslass umfasst, insbesondere die Kapselkaffeemaschinen, die derzeit unter den Bezeichnungen K‑fee TWINS II, K‑fee TWINS II & LATTE, K‑fee GRANDE und K‑fee LATTENSIA+ angeboten werden, und/oder baugleiche Produkte in Österreich betriebsmäßig feilzuhalten und/oder in Verkehr zu bringen.
Der von der Beklagten als Begründung der Nichtigkeit herangezogene Stand der Technik sei nicht einschlägig. Die Kombination der Getränkezubereitungsmaschine aus US 2006/0037482 A1 (GUT2) mit dem Kaffeevollautomaten Jura Z5 sei nicht naheliegend. Die Saeco Xsmall sei nicht vor dem Prioritätstag des Klagspatents der Öffentlichkeit zur Verfügung gestanden und sei also keine Vorbenutzung.
Die Beklagte beantragte die Abweisung des Klagebegehrens und des Sicherungsantrags und wendete ein, das Klagspatent sei nichtig. Die Erfindung, die im Klagspatent dokumentiert sei, sei nicht neu gewesen oder habe nicht auf einer erfinderischen Tätigkeit beruht, weil die Klägerin eine Schraubendämpfungsfeder selbst bereits bei ihrer „eigenen“ Kaffeemaschine Nespresso Gemini CS220 angewandt habe, die vor der Erteilung des Klagspatents auf den Markt gekommen sei.
Es fehle auch an der erfinderischen Tätigkeit gegenüber US 2006/0037482 A1 wahlweise in Kombination mit der offenkundigen Vorbenutzung der Jura Impressa Z5 oder der Saeco Xsmall oder der Nespresso Gemini CS220. Für eine Fachperson auf dem gegenständlichen Gebiet sei es im Jahr 2009 eine bekannte Maßnahme gewesen, eine vibrierende Pumpe auf einem geeigneten Dämpfungselement, beispielsweise auf einer Feder, anzubringen, um die Übertragung von Schwingungen auf andere Maschinenteile zu reduzieren.
Mit dem angefochtenen Beschluss wies das Erstgericht den Sicherungsantrag ab. Es traf dazu die auf den Seiten 5 bis 8 der Beschlussausfertigung ersichtlichen Feststellungen, die im Rekursverfahren nicht strittig sind, auf die verwiesen und aus denen hervorgehoben wird:
«Der Anspruch 1 der veröffentlichten US-Patentanmeldung US 2006/0037482 A1 (Anlage GUT2 zu ./7), die am 23. Februar 2006 veröffentlicht wurde, lautet:
„1. A machine for automatically preparing a beverage from a one-cup pod, comprising
a revolving member complete with a seat for containing said pod;
a hook for retrieving said pod;
a water heating and delivery unit comprising a one-way flow valve that opens when a certain pressure is exceeded;
a unit for operating said water heating and delivery unit, wherein said revolving member:
occupies a working position for preparing and dispensing said beverage, in which said water heating and delivery unit compresses said pod under the effect of said operating unit;
performs a revolving movement to discharge said pod, which is engaged on said hook.“
„1. eine Maschine zur automatischen Zubereitung eines Getränks aus einem Ein-Tassen-Pad, mit
einem drehbaren Element mit einem Sitz zur Aufnahme des Pads;
einem Haken zur Entnahme der Kapsel;
einer Wassererwärmungs- und -abgabeeinheit, die ein Einweg-Durchflussventil umfasst, das sich öffnet, wenn ein bestimmter Druck überschritten wird;
einer Einheit zum Betreiben der Wassererwärmungs- und -abgabeeinheit, wobei das drehbare Element:
eine Arbeitsposition für die Zubereitung und Ausgabe des Getränks einnimmt, in der die Wassererhitzungs- und -abgabeeinheit das Pad unter der Wirkung der Arbeitseinheit komprimiert;
einer Drehbewegung ausführt, um die Kapsel, die an dem Haken befestigt ist, auszugeben.“
In Abs [0041] der Beschreibung heißt es:
„[…] If, for instance, an espresso coffee pod is used, then the pressure of the water in the infusion chamber can rise up to 10-13 bar before any filtering takes place and the coffee is dispensed.[...]“
„[...] Wird beispielsweise ein Espresso-Pad verwendet, kann der Druck des Wassers in der Brühkammer auf bis zu 10-13 bar ansteigen, bevor eine Filterung stattfindet und der Kaffee ausgegeben wird. […]“
Dieses US Patent enthält als Figur 3 die folgende Darstellung:
Die Kaffeemaschine Jura Impressa Z5 (in der Folge: Jura Z5) ist eine vollautomatische Kaffeemaschine, die einen Kaffeetrichter, eine Mahleinheit und eine Brüheinheit aufweist, die zur Aufnahme des gemahlenen Kaffees von der Mahleinheit ausgebildet ist. Die Jura Z5 weist eine vertikal ausgerichtete Pumpe auf. Die Pumpe ist auf einer Schraubenfeder angebracht (./GUT3e und GUT3g, Seiten 12 und 13 zu ./7). Eine solche Maschine kann keine in Kapseln oder Pads vorverpackten Kaffeeportionen verwenden.
Die Kaffeemaschine Jura Z5 wurde vor dem 23. September 2009 vertrieben und war der Öffentlichkeit zugänglich.»
In rechtlicher Hinsicht führte das Erstgericht – zusammengefasst, soweit für das Rekursverfahren relevant – aus, dass der Einwand der Nichtigkeit mangels Neuheit hinsichtlich der Maschine Gemini CS220 deshalb scheitere, weil die Getränkezubereitungsmaschine des Klagspatents als funktionelle Einheit und nicht als Aufzählung von nicht miteinander in einer Wechselwirkung stehenden Komponenten gesehen werden müsse. Der Anspruch 1 sei in Verbindung mit der Beschreibung und den Zeichnungen so zu interpretieren, dass die Pumpe und ihre Halterung im Gehäuse mittels eines Dämpfers mit einer Schraubendämpfungsfeder mit den übrigen Merkmalen des Anspruchs 1 funktionell zusammengehören und ‑wirken. Eine innerhalb des Gehäuses der Gemini CS220 Pro angeordnete aber einem anderen Modul (dem Heißwasser- bzw Dampfmodul) zugeordnete Pumpe sei daher nicht dem oder den Modulen mit der Brüheinheit zum Aufnehmen einer vorportionierten Zutat eines Getränks zuzuordnen.
Die Getränkezubereitungsmaschine gemäß Anspruch 1 des Klagspatents beruhe gegenüber der Gemini CS 220 auf einer erfinderischen Tätigkeit, weil deren Pumpe waagrecht montiert sei und erforderliche umfangreiche Änderungen nicht naheliegend seien.
Anders verhalte es sich, wenn die US 2006/0037482 A1 und die Kaffeemaschine Jura Z5 herangezogen werden. Es beruhe nicht auf einer erfinderischen Tätigkeit, die in der US 2006/0037482 A1 verwendete Pumpe und ihre Lagerung im Gehäuse durch die aus der Jura Z5 bekannte Pumpe samt deren Lagerung zu ersetzen. Die Beklagte könne sich auf eine Nichtigkeit des Klagspatents berufen.
Dagegen richtet sich der Rekurs der Klägerin wegen unrichtiger rechtlicher Beurteilung mit dem Antrag, den Beschluss zu ändern und die einstweilige Verfügung zu erlassen, hilfsweise den Beschluss aufzuheben und dem Erstgericht die neuerliche Entscheidung aufzutragen.
Die Beklagte beantragt, dem Rekurs nicht Folge zu geben.
Rechtliche Beurteilung
Der Rekurs ist nicht berechtigt.
1.1. Die Klägerin führt in ihrem Rekurs zwar aus, dass sie den Beschluss in vollem Umfang anficht. Inhaltlich und in den Rekursanträgen wendet sie sich aber nur gegen die Spruchpunkte 1. und 2. Hinsichtlich der Zurückweisung der Urkundenvorlage der Beklagten fehlt der Klägerin auch die Beschwer. Spruchpunkt 3. ist daher von der Anfechtung nicht umfasst und somit rechtskräftig.
1.2. Einleitend ist außerdem zu bemerken, dass das Erstgericht bei der Gliederung des Anspruchs 1 des Klagspatents auf Seite 11 der angefochtenen Entscheidung die Nummerierung und Gliederung der Klägerin verwendet, während es sich im Zusammenhang mit den durch US 2006/0037482 A1 erfolgten Offenbarungen auf die von der Beklagten verwendete (abweichende) Nummerierung bezieht. Bei der Behandlung der Rechtsrüge der Klägerin wird die Gliederung des Anspruchs, wie sie auf Seite 11 der angefochtenen Entscheidung dargetan wurde, herangezogen werden.
2. Aus systematischen Gründen soll zunächst auf den Einwand der Beklagten in ihrer Rekursbeantwortung eingegangen werden.
Die Beklagte wendet sich gegen die Beurteilung des Erstgerichts, die Neuheit sei im Vergleich zur Gemini CS220 deshalb zu verneinen, weil der Anspruch 1 des Klagspatents in Verbindung mit der Beschreibung so zu interpretieren sei, dass die Pumpe und ihre Halterung im Gehäuse mit den übrigen Merkmalen des Anspruchs funktionell zusammenwirken, während die senkrecht angeordnete Pumpe 10 der Gemini CS220 nicht dem Modul mit der Brüheinheit zugeordnet sei.
Soweit sich die Beklagte auf das Fehlen der Neuheit in Hinblick auf die Calor Espresso Adagio Automatic beruft und sich dazu auf das in der Urkundenvorlage vom 18.3.2022 erstattete Vorbringen sowie das Beweisanbot bezieht, ist sie auf Spruchpunkt 3 der angefochtenen Entscheidung zu verweisen, mit dem die Urkundenvorlage vom 18.3.2022 zurückgewiesen wurde. Dieser Teil der Entscheidung ist rechtskräftig (vgl Pkt 1.1.).
2.1. Bei der Prüfung der Neuheit ist der Inhalt der Patentansprüche und der in ihnen enthaltenen Merkmale mit dem vorbekannten Stand der Technik zu vergleichen. Die Prüfung erfolgt dadurch, dass ein Gegenstand aus dem Stand der Technik mit den Merkmalen des Patentanspruchs Merkmal für Merkmal verglichen wird. Sobald in einem Patentanspruch zumindest ein Unterscheidungsmerkmal vorhanden ist, ist die Neuheit zu bejahen (Horkel/Poth/Pföstl in Stadler/Koller, PatG § 3 Rz 149).
2.2. Die Beklagte gibt – wie bereits das Erstgericht auf Seite 12 der angefochtenen Entscheidung – Art 69 EPÜ sowie den Inhalt des Auslegungsprotokolls zu Art 69 EPÜ richtig wieder. Den von der Beklagten daraus gezogene Schluss, die vom Gericht angenommene funktionelle Zusammengehörigkeit der Pumpe und der Brüheinheit sei eine unzulässige einschränkende Auslegung, teilt das Rekursgericht nicht.
2.3. Dass die Getränkezubereitungsmaschine als funktionelle Einheit zu sehen ist, ist vom Wortlaut des Anspruchs gedeckt, zumal darin angeführt wird: „A beverege preparation machine comprising ...“ oder nach der eingereichten Übersetzung „Getränkezubereitungsmaschine mit: ...“. Es handelt sich also schon aufgrund des Wortlauts des Anspruchs um eine Maschine, die aus verschiedenen Bauteilen besteht, die in einer funktionalen Beziehung zueinander stehen und nicht bloß um eine beliebige Aneinanderreihung miteinander nicht in Verbindung stehender Komponenten. Dies wird durch die Beschreibung weiter untermauert. Um zu diesem Ergebnis zu gelangen, ist es nicht notwendig, den Anspruch und die Beschreibung gedanklich als kommunizierende Gefäße zu betrachten.
Dass die Überschrift des Patents die Pumpe an den Anfang stellt, ändert daran nichts, denn maßgeblich für den Schutzumfang sind in erster Linie die Ansprüche.
2.4. Im Gegensatz zur Anordnung der Pumpe im Klagspatent sind die den Kaffeezubereitungsmodulen der Gemini CS220 zugeordneten Pumpen waagrecht montiert. Die senkrecht angeordnete Pumpe der Gemini CS220 hat funktional eine andere Aufgabe, nämlich die Versorgung des Heißwasser/Dampf-Moduls. Sie ist daher für den Merkmal für Merkmal durchzuführenden Vergleich nicht heranzuziehen und schadet der Neuheit nicht.
Das Erstgericht hat daher die Neuheit des Klagspatents zutreffend bejaht.
3.1. Die Klägerin wendet sich in ihrem Rekurs gegen die Beurteilung des Erstgerichts, der Anspruch 1 des Klagspatents beruhe bei gemeinsamer Betrachtung der US 2006/0037482 A1 und der Jura Z5 nicht auf einer erfinderischen Tätigkeit. Das Erstgericht agiere in bloß rückschauender Betrachtungsweise, weil es für die von ihm definierte Aufgabe im zu beurteilenden Stand der Technik keine Offenbarung gebe.
3.2. Eine erfinderische Tätigkeit liegt nach § 1 Abs 1 PatG vor, wenn sich die Neuerung für die Fachperson nicht in naheliegender Weise aus dem Stand der Technik ergibt. Einer Neuentwicklung fehlt aber nicht schon dann die erfinderische Tätigkeit, wenn die Fachperson aufgrund des Stands der Technik zu ihr gelangen hätte können, sondern erst, wenn sie sie aufgrund eines hinreichenden Anlasses in Erwartung einer Verbesserung oder eines Vorteils auch tatsächlich vorgeschlagen hätte – could-would-approach (OPM Op 3/12; 17 Ob 24/09t, je mwN).
Diese Prüfung kann insbesondere nach dem vom Europäischen Patentamt herangezogenen Aufgabe-Lösungs-Ansatz erfolgen (OPM Op3/12; Op 1/12, je mwN), der sich in drei Phasen gliedert:
a) Ermittlung des nächstliegenden Stands der Technik,
b) Bestimmung der zu lösenden objektiven technischen Aufgabe und
c) Prüfung der Frage, ob die beanspruchte Erfindung angesichts des nächstliegenden Stands der Technik und der objektiven technischen Aufgabe für die Fachperson naheliegend gewesen wäre.
3.3. Gegen die Heranziehung von US 2006/0037482 A1 als nächstliegenden Stand der Technik werden keine Argumente ins Treffen geführt.
3.4.1. Bei den Unterscheidungsmerkmalen zwischen dem Klagspatent und US 2006/0037482 A1 sind die technischen Wirkungen zu ermitteln. Die „objektive technische Aufgabe“ besteht darin, mit der Änderung des nächstliegenden Stands der Technik die ermittelten technischen Wirkungen zu bewirken, die die Erfindung aufweist.
3.4.2. Richtig an den Rekursausführungen ist zunächst, dass die Anführung jener Anspruchsmerkmale des Klagspatents, die durch US 2006/0037482 A1 offenbart werden, mit der auf Seite 11 des Beschlusses vorgenommenen Gliederung nicht in Einklang steht (siehe bereits Pkt 1.2.).
Wie aus den im Einzelnen angeführten Merkmalen hervorgeht, sieht das Erstgericht – zutreffend – die Merkmale 1, 2, 3, 3.2, 5, 5.1 und 5.2 des Anspruchs 1 des Klagspatents als durch US 2006/0037482 A1 offenbart an.
Weder der erstgerichtlichen Entscheidung noch US 2006/0037482 A1 selbst ist zu entnehmen, dass die Pumpe im Betrieb vibriert. Keine Offenbarung erfolgt somit hinsichtlich der Merkmale 3.1, 4, 4.1 und 4.1.1.
3.5. Der Rekurs richtet sich argumentativ in erster Linie gegen die Definition der Aufgabe durch das Erstgericht: „bei Verwendung einer Pumpe, die während des Gebrauchs in Schwingung versetzt ist, die Übertragung von Schwingungen auf das Gehäuse der Vorrichtung und weitere in dem Gehäuse der Vorrichtung untergebrachte Bestandteile zu verhindern oder zu reduzieren“.
3.5.1. Die Ansicht der Klägerin, die Aufgabe sei nur durch eine rückschauende Betrachtungsweise oder durch (unzulässiges) Heranziehen des Parteivorbringens möglich, ist nicht überzeugend. Es entsprach dem Stand der Technik zum Prioritätsstichtag, dass Pumpen im Betrieb schwingen und dass die Übertragungen auf andere Geräteteile vermieden werden sollen. Nicht nur die Klägerin in ihrer Patentschrift verweist darauf, dass Pumpen „im Allgemeinen“ schwingen (vgl dazu Abs [0008] in EP 2 410 894 B2). Auch der angeführte Stand der Technik verweist auf WO 2006/032599, die einen Vorschlag für die Lösung des Problems bietet, die Übertragung von Schwingungen der Pumpe auf andere Maschinenteile zu reduzieren. In Hinblick auf die Offenbarungen in dieser erwähnten Patentschrift, die eindeutig und unmissverständlich sind, bedarf es weder einer rückblickenden Betrachtungsweise noch der Offenbarung im Klagspatent, um ausgehend vom nächstgelegenen Stand der Technik die Aufgabe zu definieren.
3.5.2. Die nunmehrige Argumentation der Klägerin überzeugt somit nicht. Dass Pumpen im Betrieb schwingen und die Übertragung der Schwingungen auf andere Maschinenteile reduziert werden soll, war zum Prioritätsstichtag Stand der Technik (vgl Pkt 3.5.1). Die weiteren Unterscheidungsmerkmale zwischen dem nächstliegenden Stand der Technik und dem Klagspatent beschränken sich auf die Merkmale 4, 4.1 und 4.1.1, also den Dämpfer, seine Ausführung und seine Wirkungsweise. Da US 2006/0037482 A1 keine Lösung für die Verminderung oder Verhinderung der Übertragung der Schwingungen offenbart, gelangt die Fachperson zur – vom Erstgericht angeführten – technischen Aufgabe, „die Übertragung von Schwingungen auf das Gehäuse der Vorrichtung und weitere in dem Gehäuse der Vorrichtung untergebrachte Bestandteile zu verhindern oder zu reduzieren“.
3.6. Ausgehend von der nach Ansicht des Rekursgerichts zutreffend formulierten Aufgabenstellung überzeugt auch die weitere Argumentation des Erstgerichts, nicht hingegen jene der Klägerin.
Warum sich die Fachperson bei der Lösung der Aufgabe ausgehend von US 2006/0037482 A1 ausschließlich anderen Getränkezubereitungsmaschinen mit Pads zuwenden sollte, ist nicht ersichtlich. Wie vom Erstgericht ausgeführt, besteht der technische Unterschied zwischen US 2006/0037482 A1 und der Jura Z5 darin, dass Erstere eine Brüheinheit zum Aufnehmen einer in einer Kapsel oder einem Pad zugeführten Zutat eines Getränks aufweist, während Letztere eine Brüheinheit verwendet, die zur Aufnahme von gemahlenem Kaffee ausgebildet ist. Für die Fachperson ist es eine selbstverständliche routinemäßige Tätigkeit zur Überwindung von Problemen, nach vergleichbaren Lösungen des Problems zu suchen und dabei Erkenntnisse auf dem gleichen oder auf einem ähnlichen technischen Gebiet zu nutzen (OLG Wien, 34 R 68/16v, Eindringhärteprüfer). Die Getränkezubereitungsmaschinen in US 2006/0037482 A1 und die Jura Z5 sind – unabhängig von der Frage, ob sie mit oder ohne Pads verwendet werden – dem gleichen, jedenfalls aber einem ähnlichen technischen Gebiet zuzuordnen. Da in beiden Fällen (schwingende) Pumpen verwendet werden (müssen), um das Wasser mit dem erforderlichen Druck in die Brüheinheit zu befördern, würde die Fachperson auch die Jura Z5 zur Problemlösung heranziehen.
3.7.1. Auch die weitere Argumentation des Erstgerichts trifft zu. Entgegen den Rekursausführungen war das tragende Argument der Beschwerdekammer bei der Beurteilung, ob die Kombination von WO 2006/032599 A2 mit der Jura Z5 das Klagspatent für die Fachperson nahegelegt hätte, nicht die einfache Montage sondern der Umstand, dass wegen der horizontalen Anordnung der Pumpe in WO 2006/032599 A2 eine umfassende Änderung des Designs erforderlich gewesen wäre. Dass derartige umfassende Änderungen eine erfinderische Tätigkeit begründen, hat das Erstgericht im Zusammenhang mit dem Vergleich mit der Gemini CS220 ebenfalls bejaht.
3.7.2. Umfassende Änderungen sind jedoch bei der Kombination der US 2006/0037482 A1 und der Jura Z5 nicht erforderlich. In US 2006/0037482 A1 werden – im Gegensatz zu WO 2006/032599 A2 – auch keine Vorteile der dort gewählten Pumpenbefestigung offenbart. Dass die Änderung zu einer Beeinträchtigung der sonstigen Aufgaben von US 2006/0037482 A1 führen würde, wurde weder festgestellt noch von der Klägerin dargelegt. Die Fachperson hätte sich daher zur Aufgabenlösung auf diese beiden Maschinen bezogen.
3.8.Hinsichtlich des Einwands der Klägerin, den Unterlagen zur Jura Z5 sei nicht zu entnehmen, dass die zur Pumpenlagerung verwendete Feder eine Schraubendämpfungsfeder sei, die die Übertragung der Vibrationen verringere, ist auf die Ausführungen auf Seite 14 der angefochtenen Entscheidung zu verweisen, wonach die Patentschrift so zu interpretieren sei, dass die dämpfenden Eigenschaften der Feder im Sinne des Patents darin bestehen, die Amplitude der auf andere Maschinenteile übergehenden Schwingungen zu verkleinern, nicht aber darin, die Schwingungsenergie zu vernichten. Somit liegt kein technischer Unterschied in den Begriffen Schraubenfeder und Schraubendämpfungsfeder begründet. Dies auch dann, wenn in den Unterlagen zur Jura Z5 keine weiteren Erklärungen über die Funktion der Schraubenfeder vorhanden sind. Kraft des Fachwissens zu einer nachteiligen Schwingungsübertragung (vgl Pkt 3.5.2) erschließt sich für die Fachperson als einzige sinnvolle technische Wirkung der Lagerung einer Pumpe auf einer Schraubenfeder, dass diese Schraubenfeder die Amplitude der auf andere Maschinenelemente übergehenden Schwingungen verkleinert. Diese Auslegung einer Federlagerung zur Schwingungsisolation gehört zum routinemäßigen Handeln der Fachperson.
Dem steht auch die Beurteilung der Beschwerdekammer des EPA nicht entgegen. Die Beschwerdekammer beschäftigte sich mit der Frage, ob die Jura Z5 eine verbesserte „Dämpfung“ im Vergleich mit der Dämpfung der WO 2006/032599 A2 offenbart. Diese Frage stellt sich ausgehend von der US 2006/0037482 A1 nicht, weil darin – im Gegensatz zur WO 2006/032599 A2 – keine Offenbarung zu einer „Dämpfung“ erfolgt (vgl Pkt 3.5.2).
3.9. Das im Rekurs vorgetragenen Argument, die Kombination von US 2006/0037482 A1 und Jura Z5 widerspreche der Praxis des EPA, weil in US 2006/0037482 A1 kein Hinweis auf die Jura Z5 enthalten sei und somit eine Kombination nur dann zulässig wäre, wenn es sich um den allgemein üblichen Wissensstand handelt, verkennt, dass die Fachperson durchschnittliche Fachkenntnisse besitzt, jedoch den gesamten Stand der Technik des Fachgebiets kennt. Auch aus den im Rekurs zitierten Prüfungsrichtlinien des EPA (vgl ON 25, 9) lässt sich aus Sicht des Rekursgerichts nichts Gegenteiliges ableiten; jedenfalls nicht der von der Klägerin gezogene Schluss, eine vorbenutzte Maschine müsse einen bestimmten Bekanntheitsgrad erreichen, um sie dem allgemein üblichen Wissensstand der Fachperson zurechnen zu können.
3.10. Der Rekurs erweist sich insgesamt als unbegründet. Auf die von der Beklagten zusätzlich angeführten Maschinen sowie auf den Einwand des Marktmissbrauchs muss nicht eingegangen werden.
4. Die Kostenentscheidung beruht auf § 393 Abs 1 EO iVm §§ 41, 52 Abs 1 ZPO. Soweit dem Gegner der gefährdeten Partei die Abwehr des Sicherungsantrags gelingt, ist die Entscheidung über seine Kosten des Provisorialverfahrens nicht vorzubehalten (RS0005667 [T4]). Der Zuschlag für die Beiziehung eines Patentanwalts steht ihr zu, weil nicht nur prozessual-juristische Fragen Gegenstand des Rekursverfahrens waren (vgl 4 Ob 71/19y). Da die gefährdete Partei ihren Sitz in Deutschland hat, ist ihr nur die in Deutschland zu entrichtende Umsatzsteuer (19 %) zuzusprechen (2 Ob 123/19f, 8 Ob 35/20k).
5. Der Ausspruch über den Wert des Entscheidungsgegenstandes nach §§ 78, 402 Abs 4 EO iVm § 526 Abs 3, § 500 Abs 2 Z 1 lit b ZPO ergibt sich aus der wirtschaftlichen Bedeutung des Patentrechts und orientiert sich an der Bewertung durch die Klägerin.
6. Ob der Gegenstand eines Patents erfinderisch ist, kann nur im Einzelfall beurteilt werden und wirft demnach keine Rechtsfrage iSd § 528 Abs 1 ZPO auf, weshalb der ordentliche Revisionsrekurs nicht zuzulassen war.
Lizenziert vom RIS (ris.bka.gv.at - CC BY 4.0 DEED)
