Anlage 3c
(§ 19b)
Prüfung der Schutzvorrichtungen von Zugmaschinen und Motorkarren
I. Allgemeine Bestimmungen:
Die zur Prüfung vorgeführte Schutzvorrichtung muß auf einem Fahrzeug einer Type befestigt sein, für die die Schutzvorrichtung bestimmt ist. Die Prüfung ist mit Bezug auf das Fahrzeug oder auf die Fahrzeugtype abzunehmen, für die die Schutzvorrichtung bestimmt ist. Für die Durchführung der Prüfung müssen die Teile der Schutzvorrichtung abgenommen werden, die der Lenker abnehmen kann; der Lenkersitz ist in die hinterste Stellung bei üblichem Betrieb des Fahrzeuges und in seine höchste Lage zu bringen, wenn diese für sich allein einstellbar ist; ist der Lenkersitz mit einer Federungsvorrichtung versehen, so muß diese Vorrichtung auf 680 N eingestellt werden und die Belastung 550 N betragen.
II. Durchführung der Prüfung:
Die Prüfung hat zu umfassen:
- 1. Pendelschlagversuch:
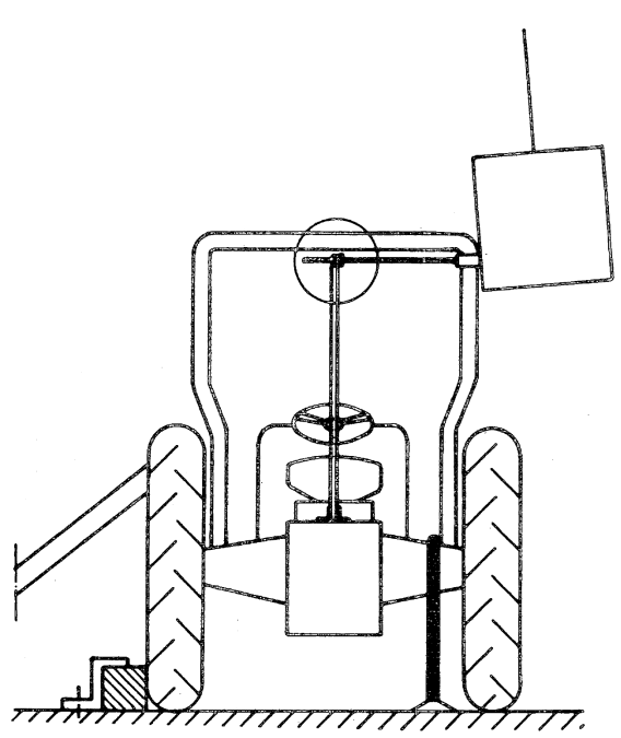
- Gegen den Rahmen ist ein massiver, quaderförmiger Schlagkörper mit einem Gewicht von 2000 kg zu stoßen, dessen Aufschlagfläche aus einem Quadrat von 680 mm ± 20 mm Seitenlänge besteht. Das Pendelgewicht muß so beschaffen sein, daß sein Schwerpunkt unverändert bleibt. Die Aufhängung muß an einem 6 m über dem Boden gelegenen Drehpunkt so erfolgen, daß die Höhe des Gewichtes einfach und ungefährlich eingestellt werden kann (Z. III Abbildung 1). Das Fahrzeug muß so verankert sein, daß es sich nicht bewegen kann.
A. Prüfung von Zugmaschinen:
Der erste Stoß muß gegen die Rückseite der Schutzvorrichtung erfolgen. Der zweite Stoß muß nach dem Zusammendrückversuch gemäß Z 2 lit. a gegen die Vorderseite der Schutzvorrichtung geführt werden; der dritte Stoß muß gegen die Seite des Fahrzeuges geführt werden, die erwartungsgemäß am stärksten verbogen werden kann. Der Stoß gegen die Rückseite hat auf die dem Seitenstoß gegenüberliegende Ecke zu erfolgen, der Stoß gegen die Vorderseite auf die dem Seitenstoß näherliegende Ecke. Bei runden Rahmen muß der Stoß in der Längsmittelebene des Fahrzeuges erfolgen.
- a) Gegen die Rückseite geführter Stoß:
- Hiefür ist das Fahrzeug so aufzustellen, daß das Pendelgewicht den Rahmen in dem Augenblick trifft, in dem die Vorderseite des Gewichts und die Tragketten mit der Vertikalen einen Winkel von 20° bilden; bildet jedoch der Rahmen am Berührungspunkt mit dem Gewicht (Aufprallpunkt) einen größeren Winkel mit der Vertikalen, so muß die Stoßseite des Gewichts durch einen zusätzlichen Träger parallel zum Rahmen am Aufprallpunkt eingestellt werden, während die Trägerketten in einem Winkel von 20° zu verbleiben haben. Der Aufprallpunkt muß auf dem Teil des Rahmens liegen, von dem zu erwarten ist, daß er bei einem Umkippen des Fahrzeuges nach hinten zuerst den Boden berührt. Die Höhe des Gewichts ist so einzustellen, daß dieses nicht um den Aufprallpunkt herumschwenkt (Z. III Abbildung 2). Das Fahrzeug ist mit Seilen festzuzurren, deren Befestigungspunkte 2 m hinter der Hinterachse und 1.5 m vor der Vorderachse liegen müssen. Diese Befestigungspunkte müssen in der Ebene liegen, in der der Schwerpunkt des Pendels schwingt; bei mehr als einem Seil muß die resultierende Kraft in dieser Ebene liegen. Als Seile müssen 12.5 mm bis 15.0 mm dicke Stahlseile verwendet werden, deren Zugfestigkeit 1100 N/mm2 bis 1260 N/mm2 beträgt. Die Reifen dürfen nicht mit Wasser gefüllt sein. Für den Reifendruck und die Abflachung der Reifen durch das Niederzurren gelten folgende Vorschriften:
| Über- druck in den Reifen (bar) | Ab-flachung (mm) |
Vierradgetriebene Zugmaschinen, bei denen Vorder- und Hinterräder gleich groß sind, |
|
|
vorne .......................................................................... | 25 | |
hinten ......................................................................... | 25 | |
Vierradgetriebene Zugmaschinen, bei denen die Vorderräder kleiner als die Hinterräder sind, |
|
|
vorne .......................................................................... | 20 | |
hinten ......................................................................... | 25 | |
Zweiradgetriebene Zugmaschinen |
|
|
vorne .......................................................................... | 15 | |
hinten ......................................................................... | 25 | |
- Nach Befestigung der Seile ist ein 15 cm ˣ 15 cm dicker Holzbalken vor die Hinterräder zu klemmen. Das Pendelgewicht ist in eine entsprechende Ausgangsstellung zu bringen; hiefür ist die Höhe seines Schwerpunktes über seiner Lage beim Aufprall durch folgende Formel zu bestimmen:
- H = 2'165・ 10-8 G.L2. (H ist die Höhe in mm, G das Eigengewicht des mit einer Schutzvorrichtung versehenen Fahrzeuges ohne Ballast in kg und L der maximale Radstand in mm). Bei Fahrzeugen, deren Vorderachslast größer ist als die Hinterachslast, ist der Wert H nach lit. b zu berechnen, wenn dies einen größeren Wert für H ergibt. Hierauf ist das Pendelgewicht freizulassen, sodaß es gegen den Rahmen stößt. Die Auslösevorrichtung muß so angeordnet sein, daß sie im Moment der Auslösung keine Schrägstellung des Pendelgewichts im Verhältnis zu den Tragketten hervorruft.
- b) Gegen die Vorderseite geführter Stoß:
- Dieser Versuch ist in der gleichen Weise wie der in der lit. a beschriebene durchzuführen. Die Befestigung hat der in der lit. a angeführten zu entsprechen; der Holzbalken muß sich jedoch hinter den Hinterrädern befinden (Z. III Abbildung 3). Die Stoßenergie ergibt sich aus der Formel H = 125 + 0・'02. G. (H ist die Höhe in mm, G das Eigengewicht des mit der Schutzvorrichtung versehenen Fahrzeuges ohne Ballast in kg). Der Stoß muß gegen jenen Teil des Rahmens erfolgen, der erwartungsgemäß bei seitlichem Umkippen bei der Vorwärtsfahrt zuerst den Boden berührt.
- c) Gegen die Seite geführter Stoß:
- Das Fahrzeug muß so aufgestellt sein, daß das Pendelgewicht den Rahmen trifft, wenn sich die Aufschlagfläche des Gewichts und die Tragketten in vertikaler Lage befinden; ist jedoch der Rahmen am Aufprallpunkt nicht vertikal, so muß die Vorderseite des Gewichts durch einen zusätzlichen Träger parallel zum Rahmen am Berührungspunkt eingestellt werden. Die Tragketten müssen vertikal bleiben. Der Aufprall muß an jenem Teil des Rahmens erfolgen, der erwartungsgemäß bei seitlichem Umkippen des Fahrzeuges als erster den Boden berührt. Dieser Punkt muß in der zur Längsmittelebene des Fahrzeuges senkrechten Ebene liegen, die durch die Mitte des in seiner Mittelstellung befindlichen Lenkersitzes geht. Die Höhe des Gewichts ist so einzustellen, daß es nicht um den Aufprallpunkt herumschwenkt. Das Hinterrad des Fahrzeuges muß auf der Seite des Stoßes festgezurrt sein. Die Zurrspannung des Seiles muß in gleicher Weise wie in der lit. a eingestellt sein. Nach dem Festzurren ist ein 15 cm ˣ 15 cm dicker Balken gegen das hintere, dem Gewicht gegenüberliegende Rad zu klemmen und fest gegen den Reifen zu schieben. Dieses Rad ist mit einem Balken abzustützen, der so am Boden zu befestigen ist, daß er während des Aufpralls an dem Rad verbleibt. Die Länge des Balkens ist so zu wählen, daß der Balken in der vorhin beschriebenen Stellung mit der Horizontalen einen Winkel zwischen 25° und 40° bildet. Ferner muß die Länge des Balkens das 20- bis 25fache seiner Querschnittshöhe und seine Breite das 2- bis 3fache seiner Querschnittshöhe betragen (Z. III Abbildung 4). Das Pendelgewicht ist in eine entsprechende Ausgangsstellung zu bringen; hiefür ist die Höhe seines Schwerpunktes über jener im Augenblick des Aufpralls nach folgender Formel zu bestimmen:
- H = 125 + 0'150. G. (H ist die Höhe in mm, G ist das Eigengewicht des mit der Schutzvorrichtung versehenen Fahrzeuges ohne Ballast in kg).
B. Prüfung von Motorkarren:
- a) Allgemeines:
- Der Berechnung der Stärke der Schlag- und Druckbeanspruchung ist das Eigengewicht in kg der schwersten Ausführung desjenigen Teiles des Motorkarrens zugrunde zu legen, auf den die Schutzvorrichtung aufgebaut ist. In den angeführten Formeln ist dieses Gewicht mit G bezeichnet. Für Motorkarren, deren Verdrehwinkel zwischen Vorder- und Hinterteil durch einen Anschlag auf weniger als ± 10° begrenzt ist, ist das gesamte Eigengewicht der Bemessung der Stärke der Schlag- und Druckbeanspruchung zugrunde zu legen; in den Formeln ist daher dieses Gewicht statt G einzusetzen. Die Reifen müssen einen Überdruck von 1'5 bar aufweisen.
- b) Gegen die Seite geführter Stoß:
- Der Stoß hat auf die Seite zu erfolgen, auf der sich der Lenkersitz befindet. Der Motorkarren muß so aufgespannt sein, daß sich beim freien Herabhängen des Pendelgewichtes die Ketten, an denen das Pendelgewicht aufgehängt ist, in der lotrechten Lage befinden und die die Aufschlagfläche enthaltende Pendelebene durch die Mitte des Sitzes geht. Der Motorkarren ist an der Vorder- und Hinterachse durch je ein Drahtseil mit Spannschloß auf der Seite, auf die der Stoß erfolgt, niederzuspannen. Als Seile müssen 12'5 mm bis 15'0 mm dicke Stahlseile verwendet werden, deren Zugfestigkeit 1100 N/mm2 bis 1260 N/mm2 beträgt. Die Seile sind bis zu einer Abplattung von 15 mm des jeweiligen Reifens zu spannen. In der Nähe des Drehpunktes zwischen Vorder- und Hinterteil muß der Motorkarren unterstützt und niedergespannt werden. Das der Aufprallseite des Pendelgewichtes gegenüberliegende Rad der Vorderachse ist durch einen Holzbalken mit 15 cm ˣ 15 cm Querschnitt gegen Verrutschen und durch einen schrägen Balken, der sich in der Felge des Rades und an einem niedergespannten Holzbalken abstützt, zu sichern. Die Länge des schrägen Balkens ist so zu wählen, daß dieser mit der Horizontalen einen Winkel zwischen 20° und 45° einschließt. Seine Länge muß das 20- bis 25fache seiner Querschnittshöhe und seine Breite das 2- bis 3fache seiner Querschnittshöhe betragen. Das Pendelgewicht ist in eine entsprechende Ausgangsstellung zu bringen; hiefür ist die Höhe seines Schwerpunktes über seiner Lage beim Aufprall durch folgende Formel zu bestimmen: H = 0'225.G. (H ist die Höhe in mm, G das Gewicht nach lit. a in kg).
- c) Gegen die Vorderseite geführter Stoß:
- Der Stoß ist gegen die vordere Ecke der Schutzvorrichtung zu führen, die sich auf der Seite des Lenkersitzes befindet. Hiefür ist das Fahrzeug so aufzustellen, daß das Pendelgewicht den Rahmen in dem Augenblick trifft, in dem die Vorderseite des Gewichtes und die Tragketten mit der Vertikalen einen Winkel von 20° bilden. Die Pendelebene ist, soweit dies ohne Gefahr des Ausscherens des Pendels möglich ist, an die Außenkante der Schutzvorrichtung zu verlegen. Lit. b dritter bis sechster Satz gilt sinngemäß, jedoch sind die Spannseile annähernd in der Schwingebene des Pendels anzubringen. Hinter die Vorderräder ist ein Holzbalken mit 15 cm ˣ 15 cm Querschnitt zu klemmen. Durch einen ebensolchen Holzbalken ist das Hinterrad, welches sich auf der der Aufschlagseite gegenüberliegenden Seite befindet, gegen seitliches Verrutschen zu sichern. Für die Fallhöhe des Pendelgewichtes gilt der halbe in lit. b angeführte Wert.
- 2. Zusammendrückversuche:
- Für diese Versuche ist ein 25 cm breiter Querbalken zu verwenden (Z. III Abbildung 5). Die bei den Versuchen jeweils angewandte Kraft muß das Doppelte des Eigengewichtes des mit der Schutzvorrichtung versehenen Fahrzeuges ohne Ballast sein; bei Motorkarren ist die angewandte Kraft nach Z 1 lit. B lit. a zu bestimmen. Das Fahrzeug ist so abzustützen, daß die Räder entlastet sind.
- a) Versuch von oben auf den hintersten Teil des Rahmens:
- Dieser Versuch ist erst nach dem in der Z 1 lit. A lit. a oder lit. B lit. c angeführten Versuch durchzuführen;
- b) Versuch von oben auf den Vorderteil des Rahmens:
- Dieser Versuch ist nach dem letzten Pendelschlagversuch durchzuführen. Wenn der Vorderteil der Schutzvorrichtung die Zusammendrückkraft nicht aushält, ist diese Kraft auf den Teil aufzubringen, der sich bei einem seitlichen Umkippen des Fahrzeuges um 180°, wobei das umgekippte Fahrzeug auf seinem Vorderende und auf der Schutzvorrichtung aufliegt, nicht verformt.
- 3. Feststellung der Ergebnisse der Versuche gemäß Z 1 und 2:
- Während des Seitenstoßversuches (Z. 1 lit. A lit. c und lit. B lit. b) ist der Unterschied zwischen der größten elastischen Verformung und der bleibenden Verformung der Schutzvorrichtung in einer Höhe von 90 cm über dem gemäß Z 1 letzter Satz belasteten und eingestellten Sitz festzustellen. Dies ist mit einem entsprechend Z III Abbildung 7 an dem oberen Teil der Schutzvorrichtung zu befestigenden waagrechten Stab zu bestimmen, auf dem ein strengsitzender Ring angebracht ist, der an einer lotrechten Bezugsstange abgestützt ist. Nach dem Stoß darf der Ring auf dem waagrechten Stab um nicht mehr als 25 cm von der Bezugsstange entfernt sein. Auch bei elastischer Verformung der Schutzvorrichtung darf kein Teil derselben in den Schutzbereich eindringen.
- 4. Messung des Schallpegels:
- Die Messung ist auf einer ebenen Beton- oder Makadamfahrbahn mit unbeladenem, nur mit dem Lenker besetztem Fahrzeug ohne Ballast durchzuführen. Das Fahrzeug ist bei der Messung mit einer Zuglast zu belasten, die von null ausgehend bis zu jenem Wert zu steigern ist, bei dem der Schallpegel seinen Höchstwert erreicht. Nach jeder Laststeigerung ist die Messung erst dann durchzuführen, wenn sich der Schallpegel stabilisiert hat. Die Messungen sind in jedem Getriebegang für die Vorwärtsfahrt des Fahrzeuges durchzuführen, dabei muß der Drehzahlverstellhebel ganz niedergedrückt sein. Die Belastungsvorrichtung für das Fahrzeug muß von diesem so weit entfernt sein, daß das Störgeräusch bei den Messungen wenigstens 10 dB (A) unter dem gemessenen Höchstwert liegt. Für die Messungen ist ein Schallpegelmesser gemäß Anlage 1c Abs. 2 zu verwenden. Das Mikrophon des Schallpegelmessers muß mit horizontaler, zur Längsmittelebene des Fahrzeugs paralleler und nach vorne gerichteter Achse 5 cm seitlich von der Stirn des Lenkers auf der Höhe seiner Augenbrauen an einem offenen Rahmenhelm angebracht sein. Bei den Messungen muß das Mikrophon abwechselnd an den beiden Seiten des Lenkers angebracht sein. Als Schallpegel gemäß § 19b Abs. 4 gilt der größte gemessene Wert.
III. Abbildungen
Abbildung 1
Abbildung 2
Abbildung 3
Abbildung 4
Abbildung 5
Abbildung 6
Abbildung 7
Fassung zuletzt geändert durch BGBl. Nr. 279/1978
Zuletzt aktualisiert am
01.07.2019
Gesetzesnummer
10011385
Dokumentnummer
NOR40051026
Lizenziert vom RIS (ris.bka.gv.at - CC BY 4.0 DEED)
