Anlage 3
Vorschriften über die technischen Bedingungen für Straßenfahrzeuge, die für den internationalen Warentransport unter Zollverschluß zugelassen werden können
Allgemeine Bestimmungen
- 1. Für den internationalen Warentransport in Straßenfahrzeugen unter Zollverschluß können nur Fahrzeuge zugelassen werden, die so gebaut und eingerichtet sind, daß
- a) Zollverschlüsse auf einfache und wirksame Weise angebracht werden können,
- b) dem zollamtlich verschlossenen Teil der Fahrzeuge keine Waren entnommen oder in ihn hineingebracht werden können, ohne sichtbare Spuren des Aufbrechens zu hinterlassen oder den Zollverschluß zu verletzen,
- c) sie keine Verstecke enthalten, in denen Waren verborgen werden können.
- 2. Die Fahrzeuge müssen so gebaut sein, daß alle zur Aufnahme von Waren geeigneten Räume, wie Abteile, Behältnisse oder sonstige Stellen für die Zollkontrolle leicht zugänglich sind.
- 3. Wenn zwischen den verschiedenen Wandungen der Wände, des Bodens und des Daches des Fahrzeuges Hohlräume bestehen, muß die innere Verkleidung fest angebracht, vollständig und lückenlos sein; sie darf nicht ohne Hinterlassung sichtbarer Spuren entfernt werden können.
Bauart des Laderaumes
- 1. Die Wände, der Boden und das Dach des Laderaumes müssen aus Metallplatten, Brettern oder anderen Platten von genügender Widerstandsfähigkeit und ausreichender Stärke bestehen, die entweder geschweißt, genietet, genutet oder so zusammengefügt sind, daß kein Zwischenraum bleibt, der einen Zugang zum Inhalt ermöglicht. Die einzelnen Teile müssen genau zusammenpassen und so befestigt sein, daß es unmöglich ist, sie zu verschieben oder zu entfernen, ohne sichtbare Spuren des Aufbrechens zu hinterlassen oder ohne den Zollverschluß zu beschädigen.
- 2. Werden zur Verbindung der einzelnen Teile Nieten verwendet, so können diese von außen oder von innen angebracht sein; die zur Verbindung der wesentlichen Teile der Wände, des Bodens und des Daches verwendeten Nieten müssen durch die verbundenen Teile hindurchgehen. Werden keine Nieten verwendet, so müssen die zur Befestigung der wesentlichen Teile der Wände, des Bodens und des Daches dienenden Bolzen oder anderen Verbindungsteile von außen angebracht sein, ins Innere durchgehen und dort zufriedenstellend mit Schraubenmuttern versehen, vernietet oder verschweißt sein. Bolzen und andere Verbindungsteile, die nicht die obengenannten wesentlichen Teile zusammenhalten, können auch von innen angebracht sein, sofern die Schraubenmutter an der Außenseite zufriedenstellend verschweißt und nicht mit einer undurchsichtigen Masse überzogen ist. Fahrzeuge mit Boden, Dach oder Wänden aus Metallplatten oder Tafeln, deren Ränder nach innen gebogen oder gefalzt sind, und die innen durch Nieten, Bolzen oder auf ähnliche Weise miteinander verbunden sind, werden gleichfalls zugelassen, sofern die Nieten, Bolzen oder anderen Verbindungsteile durch die gebogenen oder gefalzten Ränder der Platten oder Tafeln und gegebenenfalls durch die diese Ränder zusammenhaltende Vorrichtung hindurchgehen, und sofern es bei geschlossenem Laderaum unmöglich ist, die so verbundenen Platten oder Tafeln zu verschieben oder zu entfernen.
- 3. Lüftungsöffnungen sind zugelassen, sofern ihre größte Weite 400 mm nicht überschreitet. Wenn sie einen unmittelbaren Zugang zum Innern des Laderaumes gestatten, müssen sie mit einem Drahtgeflecht oder einem durchlochten Blech (größte Weite der Löcher: 3 mm in beiden Fällen) versehen und durch ein geschweißtes Metallgitter (Maschenweite höchstens 10 mm) geschützt sein. Gestatten sie keinen unmittelbaren Zugang zum Innern des Laderaumes (z. B. bei Verwendung von mehrfach gewundenen Lüftungskanälen), so müssen sie mit den gleichen Vorrichtungen versehen sein, wobei aber die Loch- und Maschenweiten 10 mm beziehungsweise 20 mm (statt 3 mm beziehungsweise 10 mm) betragen dürfen. Diese Vorrichtungen dürfen von außen ohne Hinterlassung sichtbarer Spuren nicht entfernt werden können. Die Drahtgeflechte müssen aus Drähten von mindestens 1 mm Durchmesser bestehen und so beschaffen sein, daß die einzelnen Drähte nicht zusammengeschoben werden können und daß die Weite der Löcher ohne Hinterlassung sichtbarer Spuren nicht vergrößert werden kann.
- 4. Lichtöffnungen sind zulässig, sofern sie mit einer festen Glasscheibe und einem festen Metallgitter versehen sind, die von außen nicht entfernt werden können. Die Maschenweite des Gitters darf höchstens 10 mm betragen.
- 5. Öffnungen im Boden zu technischen Zwecken, zum Beispiel zum Schmieren, zur Wagenpflege, zum Füllen des Sandstreuers, sind nur zugelassen, wenn sie mit einem Deckel versehen sind, der so befestigt werden kann, daß ein Zugang von außen zum Laderaum nicht möglich ist.
Verschlußeinrichtungen
- 1. Türen und alle anderen Abschlußeinrichtungen der Fahrzeuge müssen mit einer Vorrichtung versehen sein, die einen einfachen und wirksamen Zollverschluß ermöglicht. Diese Vorrichtung muß entweder an die Türwände geschweißt sein, wenn diese aus Metall sind, oder durch mindestens zwei Schraubenbolzen befestigt sein, deren Muttern im Innern des Laderaumes vernietet oder verschweißt sind.
- 2. Scharniere müssen so beschaffen und angebracht sein, daß die Türen und anderen Abschlußeinrichtungen in geschlossenem Zustand nicht aus ihren Angeln gehoben werden können; Schrauben, Bolzen, Stifte und andere Befestigungsmittel müssen mit den äußeren Seiten der Scharniere verschweißt sein. Dies ist jedoch nicht erforderlich, wenn die Türen und anderen Abschlußeinrichtungen mit einer von außen nicht zugänglichen Verriegelungsvorrichtung versehen sind, die es nach dem Schließen nicht mehr gestattet, die Türen aus ihren Angeln zu heben.
- 3. Die Türen müssen so gebaut sein, daß jede Fuge verdeckt und ein vollständiger und wirksamer Verschluß gewährleistet ist.
- 4. Das Fahrzeug muß mit einer geeigneten Vorrichtung zum Schutz des Zollverschlusses versehen oder so gebaut sein, daß der Zollverschluß ausreichend geschützt ist.
Spezialfahrzeuge
- 1. Die vorstehenden Vorschriften gelten auch für Isolier- und Kühlwagen, Tankwagen und Möbelwagen, soweit sie mit den technischen Eigenarten vereinbar sind, die sich aus der Zweckbestimmung dieser Fahrzeuge ergeben.
- 2. Flanschen (Abschlußdeckel), Leitungshähne und Mannlöcher von Tankwagen müssen so beschaffen sein, daß ein einfacher und wirksamer Zollverschluß möglich ist.
Fahrzeuge mit Schutzdecken
- 1. Die Vorschriften der Artikel 2 bis 4 gelten auch für Fahrzeuge mit Schutzdecken, soweit sie auf diese Fahrzeuge anwendbar sind. Außerdem müssen diese Fahrzeuge folgenden Bedingungen entsprechen.
- 2. Die Schutzdecke muß entweder aus einem Stück oder aus ganzen Bahnen starken Gewebes gefertigt sein. Sie muß in gutem Zustand und so hergerichtet sein, daß nach Anlegen der Verschlußvorrichtung ein Zugang zur Ladung ohne Hinterlassung sichtbarer Spuren nicht möglich ist.
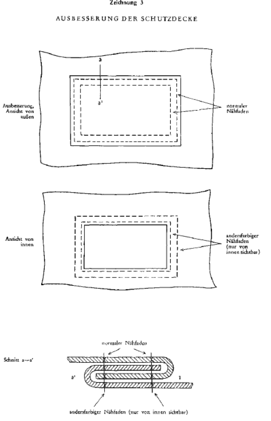
- 3. Ist die Schutzdecke aus mehreren Bahnen zusammengesetzt, so müssen die Ränder dieser Bahnen ineinander gefaltet und durch zwei mindestens 15 mm voneinander entfernte Nähte miteinander verbunden sein. Die Nähte müssen entsprechend der Zeichnung 1 angefertigt sein; wenn es jedoch nicht möglich ist, an gewissen Teilen der Schutzdecke (wie zum Beispiel bei den Überfällen an der Rückseite und bei verstärkten Ecken) die Bahnen auf diese Weise zusammenzunähen, so genügt es, daß nur der Rand des oberen Stückes umgefaltet und entsprechend der Zeichnung 2 angenäht ist. Die eine dieser Nähte, deren Faden sich in der Farbe vom Faden der anderen Naht und von der Schutzdecke deutlich unterscheiden muß, darf nur auf der Innenseite sichtbar sein. Ausbesserungen sind nach dem in der Zeichnung 3 beschriebenen Verfahren vorzunehmen; bei diesen Ausbesserungen müssen die Ränder ineinandergefaltet und durch zwei sichtbare, mindestens 15 mm voneinander entfernte Nähte miteinander verbunden sein; die Farbe des auf der Innenseite sichtbaren Fadens muß sich von der Farbe des auf der Außenseite sichtbaren Fadens und von der Farbe der Schutzdecke unterscheiden. Alle Nähte müssen mit der Maschine genäht sein.
- 4. Die Befestigungsringe müssen so angebracht sein, daß sie von außen nicht entfernt werden können. Die Ösen an der Schutzdecke müssen mit Metall oder Leder verstärkt sein. Der Zwischenraum zwischen den Ösen oder Ringen darf 200 mm nicht übersteigen.
- 5. Die Schutzdecke muß an den Wänden so befestigt sein, daß jeder Zugang zur Ladung unmöglich ist. Sie muß durch Tragbügel, und zwar durch mindestens drei, wenn die Ladefläche länger als 4 m ist, und durch drei Längsstangen oder -latten gestützt werden. Diese Tragbügel müssen so befestigt sein, daß ihre Stellung von außen nicht verändert werden kann.
- 6. Als Befestigungsmittel sind zu verwenden
- a) Stahldrahtseile von mindestens 3 mm Durchmesser oder
- b) Hanf- oder Sisalseile von mindestens 8 mm Durchmesser, die mit einem durchsichtigen, nicht dehnbaren Überzug aus Kunststoff versehen sind, oder
- c) Verschlußstangen aus Eisen mit einem Durchmesser von mindestens 8 mm.
- Stahldrahtseile dürfen nur mit einem Überzug versehen sein, wenn dieser aus durchsichtigem, nicht dehnbarem Kunststoff besteht. Die Eisenstangen dürfen keinen undurchsichtigen Überzug haben.
- 7. Jedes Drahtseil oder jedes Seil muß aus einem einzigen Stück und an beiden Enden mit einer Metallzwinge versehen sein. Die Befestigungsvorrichtung jeder Metallzwinge muß eine durch das Seil hindurchgehende Hohlniete enthalten, durch die die Zollschnur durchgezogen werden kann. Das Seil muß auf beiden Seiten der Hohlniete sichtbar sein, damit festgestellt werden kann, ob das Seil aus einem einzigen Stück ist (siehe Zeichnung 4).
- 8. Jede Verschlußstange aus Eisen muß aus einem Stück sein. Sie muß an einem Ende eine Durchbohrung zur Aufnahme der Verschlußvorrichtung und am anderen Ende einen an die Stange angeschmiedeten Kopf haben, der so beschaffen ist, daß ein Drehen der Verschlußstange um die eigene Achse unmöglich ist.
- 9. Werden Drahtseile oder Seile verwendet, so müssen die Fahrzeugwände mindestens 350 mm hoch und von der Schutzdecke mindestens 300 mm überdeckt sein.
- 10. An den Öffnungen, die zum Beladen und Entladen des Fahrzeuges dienen, müssen die beiden Ränder der Schutzdecke einander in genügender Weise überlappen. Außerdem muß ihr Verschluß durch einen außen angebrachten und entsprechend dem Absatz 3 angenähten Überfall gesichert sein. Außer den in Absatz 6 vorgesehenen Befestigungsmitteln können auch Lederriemen zugelassen werden, wenn sie mindestens 20 mm breit und 3 mm dick sind. Diese Riemen müssen an der Innenseite der Schutzdecke befestigt und mit Ösen zur Aufnahme der in Absatz 6 angeführten Drahtseile, Seile oder Stangen versehen sein.
Zuletzt aktualisiert am
06.02.2020
Gesetzesnummer
10003925
Dokumentnummer
NOR40215321
Lizenziert vom RIS (ris.bka.gv.at - CC BY 4.0 DEED)
